Trogförderschnecke
Die Trogförderschnecke
Grundform
Eine Trogförderschnecke hat einen U-förmigen Schneckentrog und wird in der Regel mit Abdeckungen verschlossen. Die Abdeckungen können einfach demontiert werden und ermöglichen so einer gute Zugänglichkeit zum Förderraum.
Einsatzbereich
Trogförderschnecken können bis zu einer Steigung von cirka 30° eingesetzt werden.
Es gibt für praktisch jedes Fördergut eine passende Ausführung.
Trogförderschnecken sind in der Regel die erste Wahl, wenn eine Zugänglichkeit zum Förderraum gewünscht wird oder wenn die Förderschnecke an einen Prozessapparat angeschlossen wird, welcher einen grossen Auslauf hat. Also wenn die Förderschnecke einen grossen Eintritschacht haben soll. Dieser Schacht kann dann anstatt des Deckels direkt an den U-Trog geschraubt und an die Schnittstelle angepasst werden.
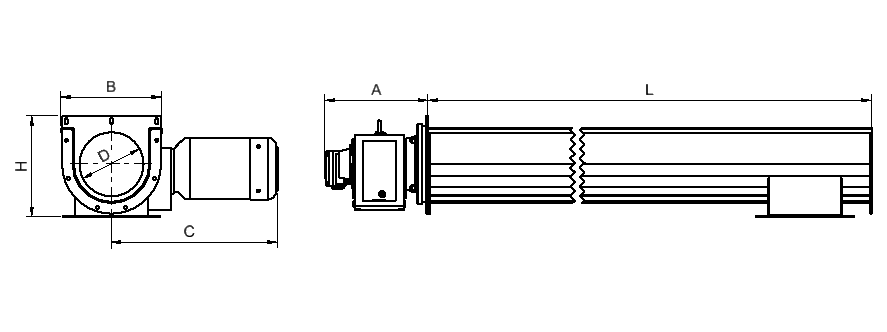
Abmessungen der Trogförderschnecke
Kundenspezifische Lösung
Sie haben eine bestehende Förderschnecke, welche am Ende ihrer Lebensdauer angekommen ist? Gerne produzieren wir Ihnen einen passenden Ersatz für Ihre aktuelle Lösung. Gerne konstruiren wir für Sie eine Schnecke nach ihren Wünschen. In diesem Fall haben Sie die maximale flexibilität, allerdings auch klar höhere Kosten. Versuchen Sie wenn möglich auf das Standardprogramm auszuweichen.
Veritec Standard-Trogförderschnecke
Die standardisierte Förderschenecke gibt die Form und Abmessungen des U-Trogs vor. Der Schacht, welcher auf den Trog geschraubt wird, kann natürlich weiterhin Kundenspezifisch ausgeführt werden. Ebenso kann der Austrittsfansch auf auf Kundenwunsch angepasst werden. Diese Anpassungen sind auch normal, da jede Anlage anders aufgebaut ist. Dennoch gibt es hier klare kostenvorteile gegenüber einer kundenspezifischn Lösung.
Die folgende Abbildung und Masstabelle soll dazu dienen den ungefähren Platzbedarf abzuschätzen.

| Kürzel | Bezeichnung |
|---|---|
| D | Durchmesser der Schnecke |
| B | Breite des Troges |
| H | Höhe des Troges |
| L | Länge des Troges* |
| C | Platzbedarf des Motors** |
| A | Platzbedarf des Motors** |
| * | In 100mm Schritten |
| ** | Abhängig von der Leistung |
| D | B | H | L | C | A |
|---|---|---|---|---|---|
| 200mm | 320mm | 320mm | 100mm Schritte | bis 490mm | bis 430mm |
| 300mm | 430mm | 430mm | 100mm Schritte | bis 700mm | bis 635mm |
| 450mm | 600mm | 600mm | 100mm Schritte | bis 810mm | bis 700mm |
| 600mm | 770mm | 770mm | 100mm Schritte | auf Anfrage | auf Anfrage |
| 800mm | 970mm | 970mm | 100mm Schritte | auf Anfrage | auf Anfrage |
Durchsatz der Trogförderschnecke
Der Durchsatz einer Förderschnecke hängt von verschiedenen Faktoren ab. Die wichtigsten sind:
- gefördertes Material
- steigung der Förderschnecke
- Drehzahl der Schneckenwelle
Mit einer höheren Drehzahl ist es möglich mehr Durchsatz zu erreichen. Dafür ist aber der Verschleiss höher. Die folgende Tabelle ermöglicht es grob die Grösse der benötigten Förderschnecke abzuschätzen. Die Förderleistungen sind richtwerte bei einer Drehzahl von etwa 40 Umdrehungen pro Minute und einer horizontalen Förderung. Bei Steigenden Förderschnecken nimmt die Förderleistung deutlich ab.
| Klasse / Füllgrad | Info | Beispiele |
|---|---|---|
| A / 0,45 | Frei fließendes, leichtes, wenig schleißendes Fördergut. | Rohmehl, Mischfutter, Getreide, PET-Granulat |
| B / 0,3 | Nicht ganz frei fließendes Fördergut mit höherem Schüttgewicht, etwas schleißend oder feinkörnige bzw. kleinstückige Stoffe. | Zucker, Sägemehl, Kalk, Salze, Düngemitel |
| C / 0,15 | Stark schleißendes, zähes, faserig oder grobkörniges Fördergut mit schlechten Fließeigenschaften. | Sand, Asche, Zement, Kalkstein |
| Durchmesser D | Förderleistung Klasse A | Förderleistung Klasse B | Förderleistung Klasse C |
|---|---|---|---|
| 200 | 6 m3/h | 4 m3/h | 2 m3/h |
| 300 | 20 m3/h | 13 m3/h | 6,5 m3/h |
| 450 | 57 m3/h | 38 m3/h | 19 m3/h |
| 600 | 120 m3/h | 80 m3/h | 40 m3/h |
| 800 | 240 m3/h | 160 m3/h | 80 m3/h |
Die Komponenten einer Trogförderschnecke
Der Trog definiert nur die Form und die Schnittstellen der Förderschnecke. Daneben gibt es diverse Optionen die noch gewählt werden können. Wir können auch gerne verschiedene Optionen anbieten damit die Kosten dem Nutzen gegenüberstellt werden können.
Material
Wir bieten unsere Trogförderschnecken in folgenden Materialien an.
- S235JR
- V2A
- V4A
- speziellere Materialien auf Anfrage möglich.
Antriebseinheit
Die Antriebseinheit besteht aus folgenden Hauptbestandteilen und wird gemäss den Betriebsbedingungen ausgelegt.
- Getriebemotor
- Dichtung
- Lager
- Drehmomentstütze
Schleisseinlagen
Um den Trog vor Verschleiss zu schützen, bieten wir folgende Möglichkeiten.
- Eingeschweisste Schleissschienen
- Kunststoffeinlagen
- Stahleinlagen
- Stahleinlagen + Schleissschienen
Überfüllsicherung
Eine Förderschnecke kann hinter dem Abwurfschacht eine Überfüllsicherung eingebaut werden. Diese meldet, wenn sich das Produkt in die Schnecke zurückstaut.
Gegenlager / Zwischenlager
Beidseitig gelagerte Förderschnecken haben ein Gegenlager. Bei längeren Schnecken kommen zudem noch Zwischenlager ins Spiel.
Bei der Gegenlagerung gibt es zudem die Option einen Drehwächter einzusetzen.
Schneckenspirale
Die Schneckenspirale wird dazu verwendet, das Förderprodukt im Trog zu vorwärts zu bewegen.
Die Förderspirale liegt immer im Trog auf. Ist dies nicht gewünscht, wird eine Schneckenwelle benötigt.
Schneckenwelle
Eine Schneckenwelle wird dazu benötigt, um das Fördergut im Trog vorwärts zu bewegen.
Es wird entweder die Schneckenwelle oder dann eine Schneckenspirale benötigt. Im genensatz zur Spirale kann die Schneckenwelle beidseitig gelagert werden.
Infos lieber als PDF?
Haben Sie unsere Informationen lieber als PDF? Hier können Sie unsere Broschüre herunterladen.



